Схемы систем смазки двигателей
Схемы систем смазки двигателей
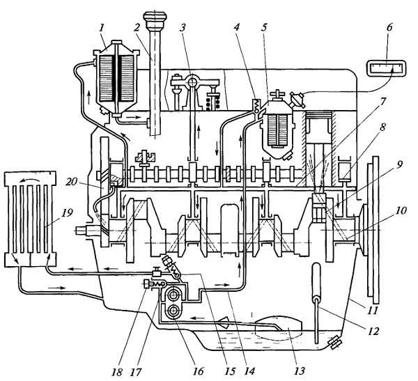
Система смазки двигателя М-21. Эта система смазки комбинированная; в состав ее входят: масляный насос, установленный внутри масляного картера, фильтр грубой очистки, фильтр тонкой очистки, редукционный клапан, масляная магистраль с каналами, маслоналивная горловина с крышкой и указатель уровня масла.
Рис. 1. Схема смазки двигателя М-21:
1 — коленчатый вал; 2 — шестерня коленчатого вала; 3 — редукционный клапан; 4 — датчик масляного манометра; 5 — фильтр грубой очистки масла; в — масляная магистраль; 7 — ось коромысел; 8 — крышка головки цилиндра; 9 — крышка маслоналивной горловины; 10 — коромысло; 11 — стойка оси; 12 — канал в головке цилиндров; 13 — канал в блоке цилиндров; 14 — штанга; 15 — толкатель; 16 — распределительный вал; 17 — шестерня привода масляного насоса; 18 — шестерня распределительного вала; 19 — масляный насос; 20 — перекидная трубка от насоса к блоку цилиндров; 21 — картер двигателя
Рекламные предложения на основе ваших интересов:
Дополнительные материалы по теме:
Шестерня распределительного вала находится в зацеплении с шестерней привода масляного насоса.
Во время работы двигателя масло из картера забирается насосом через плавающий маслоприемник и по перекидной трубке нагнетается в фильтр грубой очистки. Пройдя фильтр грубой очистки, масло поступает в масляную магистраль (канал, просверленный вдоль всего блока цилиндров с правой стороны). Из масляной магистрали по поперечным каналам в блоке цилиндров масло подводится к коренным подшипникам коленчатого вала и к подшипникам распределительного вала.
Верхние вкладыши коренных подшипников имеют отверстия для прохода масла к коренным шейкам коленчатого вала. На вкладышах коренных подшипников сделаны маслораспределительные канавки, постоянно сообщающиеся с каналами, по которым масло поступает от коренных шеек к шатунным. В шатунных шейках коленчатого вала двигателя М-21 сделаны грязеуловительные полости для дополнительной очистки масла. Пройдя эти полости, масло поступает к шатунным шейкам коленчатого вала и шатунным подшипникам.
У большинства двигателей на нижних головках шатунов сделаны небольшие отверстия, по которым при совпадении их с отверстиями в шатунных шейках коленчатого вала подается пульсирующий поток масла к кулачкам распределительного вала и стенкам цилиндров.
У двигателя М-21 отверстия в шатунах направлены в сторону, противоположную от распределительного вала, и по ним масло поступает только на стенки цилиндров.
Коромысла и верхние наконечники штанг смазываются под давлением. На пятой (задней) опорной шейке распределительного вала имеются две незамкнутые канавки. При вращении вала они периодически соединяют канал с каналом, подводящим масло к пятому подшипнику распределительного вала. Масло пульсирующим потоком из канала по каналу головки цилиндров нагнетается под заднюю пустотелую стойку оси коромысел, и внутренняя полость оси коромысел заполняется маслом. Под каждым коромыслом, установленным на оси, есть отверстие, по которому масло поступает к втулкам коромысел. По каналам в коротких плечах коромысел и регулировочных винтах масло подается к верхним наконечникам штанг. Стекая по штангам, масло смазывает нижние наконечники, толкатели и кулачки распределительного вала. Толкатели имеют отверстия для выхода масла. Стекающее в картер масло подхватывается вращающимися деталями кривошипно-шатунного механизма двигателей и мелко разбрызгивается, вследствие чего образуется масляный туман.
Концы коромысел и стержни клапанов смазываются масляным туманом и маслом, разбрызгивающимся при вытекании его из зазоров втулок коромысел.
Поршневые пальцы, поршни и цилиндры также смазываются разбрызгивающимся маслом.
К валу привода масляного насоса и прерывателя-распределителя масло поступает самотеком. Стекая по стенкам блока цилиндров, масло попадает в корпус привода.
На передней опорной шейке распределительного вала имеются две незамкнутые канавки, одна из которых при помощи двух отверстий (радиального и осевого) соединяется с передним торцом опорной шейки. Через полукольцевую канавку, соединенную с этими отверстиями, масло при вращении распределительного вала поступает к упорному фланцу. В переднем торце блока цилиндров просверлено отверстие, в которое вставлена трубка, суженный конец которой располагается над распределительной шестерней. При вращении распределительного вала полукольцевые канавки дважды за один оборот соединяют поперечный масляный канал с отверстием в блоке цилиндров.
Пульсирующая струя масла по трубке подается к распределительным шестерням.
Параллельно масляной магистрали присоединен фильтр тонкой очистки, через который проходит часть масла, поступающего от фильтра грубой очистки. Пройдя фильтр тонкой очистки, масло сливается в картер двигателя.
В системе смазки двигателя М-21 имеются два клапана: перепускной, установленный в фильтре грубой очистки масла, и редукционный, расположенный в передней части блока цилиндров.
Давление в системе смазки двигателей М-21 и ГАЗ-бЗА при средних числах оборотов коленчатого вала (скорость движения автомобиля около 50 км/ч) должно быть в пределах 2—4 кГ/см2 (200—400 кн/м2). Если двигатель не прогрет, то давление повышается до 4,5—5 кГ/см2 (450—500кн/м2).
Редукционный клапан служит для поддержания в системе смазки нормального давления. Масляный насос, расположенный в картере, подает масла больше, чем требуется для работы двигателя, поэтому давление в системе смазки увеличивается. Вследствие этого редукционный клапан открывается, преодолевая сопротивление пружины, и перепускает масло из масляной магистрали по каналу в канал, откуда оно сливается в картер.
В процессе работы двигателя коренные и шатунные шейки коленчатого вала, а также и все подшипники постепенно изнашиваются. Зазоры между шейками коленчатого вала и соответствующими вкладышами подшипников увеличиваются, в результате этого возрастает расход масла через подшипники. Редукционный клапан, поддерживая необходимое давление в системе смазки, в этом случае меньше перепускает масла на слив в картер.
На двигателе М-21 установлен редукционный клапан плунжерного типа. В отверстии, где он расположен, сделана разгрузочная полукольцевая канавка, соединенная со сливным каналом. Благодаря разгрузочной канавке масло, просочившееся за плунжер, стекает в картер и не препятствует плунжеру свободно перемещаться во время работы двигателя.
Обычно редукционный клапан устанавливают в крышке или в корпусе масляного насоса (двигатели ГАЗ-51А, ЗИЛ-130 и др.), а на двигателях М-21 и ГАЗ-БЗА расположение клапана в конце масляной магистрали способствует быстрому поступлению масла к подшипникам коленчатого вала и на зеркало цилиндра, что облегчает пуск холодного двигателя.
Давление в системе смазки контролируют по манометру, датчик которого устанавливают на корпусе фильтра грубой очистки масла или в передней части блока цилиндров (ГАЗ-5ЗА).
Масло в картер двигателя М-21 наливают через горловину, расположенную на крышке головки цилиндров. Затем оно проходит через восемь отверстий в головке цилиндров для штанг и поступает в камеру штанг. В горизонтальной перегородке блока цилиндров между толкателями имеются отверстия, по которым масло стекает в картер.
Количество масла в картере двигателя контролируют по меткам, нанесенным на указателе. На стержне указателя выбиты метки П и О. Масло заливают в картер до метки П, после чего двигатель может работать до снижения уровня масла до отметки О. При снижении уровня масла ниже метки О работать запрещается, так как можно выплавить подшипники и вывести двигатель из строя.
Наливать масло выше метки П тоже не рекомендуется, так как это приводит к забрызгиванию свечей, образованию нагара на стенках камеры сгорания и на днищах поршней и к закоксовыванию поршневых колец.
Система смазки двигателя ГАЗ-53А. В системе смазки автомобиля ГАЗ-53А устанавливается масляная центрифуга и двухсекционный масляный насос.
При работе двигателя шестеренчатый масляный насос при помощи неподвижного маслоприемника забирает масло из картера. Нижняя секция масляного насоса нагнетает масло в центрифугу, после которой масло сливается в картер двигателя. Верхняя секция масляного насоса нагнетает масло в главную масляную магистраль блока цилиндров. Из главной магистрали масло по каналам в блоке подводится к коренным подшипникам коленчатого и распределительного валов. От коренных шеек коленчатого вала по каналам, просверленным к валу, масло поступает к шатунным подшипникам.
Рис. 2. Редукционных клапан:
а — в закрытом состоянии; б — в открытом состоянии; 1 — масляная магистраль; 2 — редукционный клапан; 3 — пружина; 4 — полукольцевая канавка; о — сливной канал; в — картер двигателя; 7 — канал
Из второй и четвертой опор распределительного вала масло пульсирующим потоком подается в полые оси коромысел.
Смазка распределительных шестерен осуществляется маслом, сливаемым из центрифуги.
Рис. 3. Схема смазки двигателя FA3-53A:
1 — масляный радиатор; 2 — кран включения радиатора; 3 — предохранительный клапан; 4 — центрифуга; 5 — ось коромысел; в — главная масляная магистраль; 7 — верхняя секция масляного насоса; 8 — нижняя секция масляного насоса; 9 и 14 — редукционные клапаны; 10 — масляный насос; 11 — маслоприемник; 12 — картер двигателя; 13 — маслопровод
Из полости, расположенной между пятой шейкой распределительного вала и заглушкой блока цилиндров, масло проходит к приводу распределителя зажигания.
В системе смазки двигателя ГАЗ-53А имеется масляный радиатор, включенный, как и центрифуга, параллельно главной масляной магистрали. Масляный радиатор включается при температуре окружающего воздуха выше 20 °С. При тяжелых условиях работы автомобиля (например, движение с небольшой скоростью по глубокому снегу или песку) шофер должен включить масляный радиатор, несмотря на то, что температура окружающего воздуха низкая.
При включении масляного радиатора может заметно уменьшится давление в системе смазки. Чтобы оно не было меньше 1 кГ/см2 (100 кн/м2), перед краном включения радиатора установлен предохранительный клапан, отрегулированный на это давление.
В системе смазки имеются еще редукционные клапаны. Редукционный клапан расположен в корпусе нижней секции насоса,а клапан — в передней части блока цилиндров с правой стороны. Оба редукционных клапана предохраняют систему смазки от чрезмерного повышения давления.
Рис. 4. Схема смазки двигателя ЗИЛ-130:
1 — трубопровод подачи масла в масляный радиатор; 2 — кран включения масляного радиатора; 3 — масляный насос; 4 — канал, подводящий масло от насоса к фильтрам; 5 — ведущая шестерня привода масляного насоса; 6 — ведомая шестерня; 7 — фильтр грубой очистки; 8 — датчик масляного манометра; 9 — центрифуга; 10 — маслораспределительная камера; 11 — канал в коромысле; 12 — ось коромысел; 13 — левый магистральный канал; 14 — трубка подачи масла для смазки компрессора; 15 — каналы для смазки кривошипно-шатунной группы компрессора; 16 —штанга; 17 — толкатель; 18 — масляный радиатор; 19 — распределительный вал; 20 — шестерня распределительного вала; 21 — трубка для слива масла из компрессора; 22 — трубопровод для олива масла из радиатора; 23 — шестерня коленчатого вала; 24 — канал от коренной шейки к шатунной; 25 — грязе-уловительные полости; 26 — отверстие в теле шатуна для подачи масла на стенку цилиндра; 27 — правый магистральный канал; 28 — масляный картер; 29 — маслоприемник
Если масло в картере холодное (пуск двигателя), то давление в системе смазки увеличивается и срабатывают редукционные клапаны обеих секций насоса.
Клапан перепускает масло из полости нагнетания во впускную полость насоса, а через клапан масло сливается в картер.
Система смазки двигателя ЗИЛ-130. На рис. 77 показана схема смазки двигателя ЗИЛ-130, имеющая много общего с системой смазки двигателей М-21 и ГАЗ-БЗА, поэтому рассмотрим только путь масла.
При работе двигателя масло по каналу нагнетается в корпус фильтров, на котором установлено два масляных фильтра: грубой и тонкой очистки масла (центрифуга). Весь поток масла проходит через фильтр грубой очистки. После выхода из фильтра грубой очистки поток масла разделяется. Одна часть масла поступает в центрифугу, а другая (основная) — в маслораспределительную камеру, расположенную на задней перегородке блока цилиндров.
Из камеры масло нагнетается в левый и правый магистральные каналы, а из них оно поступает к коренным подшипникам коленчатого вала, подшипникам распределительного вала и к толкателям. В коленчатом вале просверлены каналы для подачи масла к шатунным шейкам.
Средняя (третья) опорная шейка распределительного вала имеет отверстия. При совпадении их с отверстиями в блоке цилиндров масло пульсирующим потоком подается по каналам к головкам цилиндров, далее под стойку (в каждой головке) и затем в пустотелые оси коромысел. Масло, поступившее под давлением к втулкам коромысел, затем направляется по каналу к регулировочному винту и верхнему наконечнику штанги. Носки коромысел, стержни клапанов и механизмы вращения клапанов смазываются масляным туманом или маслом, поступающим самотеком.
Из правого магистрального канала по трубке масло подается в каналы для смазки кривошипно-шатунного механизма компрессора. От компрессора по трубке оно сливается в картер двигателя. Нижняя секция масляного насоса при открытом кране нагнетает масло по трубопроводу в масляный радиатор. Охлажденное в масляном радиаторе масло по трубопроводу сливается в картер.
Система смазки двигателя
Главная / Учебник по устройству автомобиля / Глава 4.
Двигатель » Подраздел 4.9 Система смазки двигателя
В двигателе находится большое количество трущихся друг о друга деталей, все они металлические, и всем им требуется смазка, ибо они нагреваются и, как следствие, могут заклинить. Поэтому в двигателе есть система смазки: с каналами (магистралями), с поддоном и с масляным насосом. Упрощенная схема системы смазки приведена на рисунке 4.38.
Помимо смазывания, масло еще выполняет роль охладителя раскаленных трущихся деталей двигателя. Именно поэтому часто в дизельных, а иногда и в бензиновых двигателях устанавливают специальные распылители, направленные на нижние части поршней, но об этом позже.
Рисунок 4.38 Упрощенная схема системы смазки.
Основные элементы системы смазки
Масляный насос
О назначении сего устройства говорит его название. Масляный насос необходим для перекачки моторного масла из масляного поддона, который находится в самой нижней части двигателя, ко всем трущимся деталям через специальные масляные каналы.
Для этой цели применяют насосы шестеренного типа с внешним и внутренним зацеплением. Насосы первого типа — сейчас большая редкость из-за своих габаритов, потому рассмотрим тип насоса, являющийся наиболее актуальным на сегодняшний день – шестеренный с внутренним зацеплением, пример которого можно увидеть на рисунке 4.39.
Рисунок 4.39 Масляный насос шестеренного типа с внутренним зацеплением.
Приводится масляный насос обычно от коленчатого вала цепью, ремнем или шестерней, в зависимости от типа привода газораспределительного механизма или непосредственно установлен на коленчатом вале. Работа насоса заключается в том, что при вращении малая шестерня перекатывается по большой, увлекая за собой моторное масло, и по каналам под давлением подводит его к трущимся деталям.
Редукционный клапан
Редукционный клапан служит для ограничения давления масла в маслопроводах системы смазки. Давление масла может повыситься при очень больших количествах оборотов коленчатого вала двигателя или при чрезмерно густом масле, например, в холодном двигателе.
Редукционный клапан обычно ставят в корпусе насоса. Он представляет собой шарик, поджатый пружиной. Пока давление масла нормальное, шарик плотно прижат к пружине, когда давление начинает чрезмерно повышаться, шарик перемещается, сжимая пружину, при этом открывается перепускной канал, по которому масло из поддона через насос снова стекает в поддон.
Масляные фильтры
Двигатель работает, масло смазывает, однако, так или иначе, появляются продукты износа трущихся деталей. Продукты износа – это довольно мелкие частички металлической стружки, образующиеся при трении и, как следствие, износе деталей. Также масло загрязняется частицами нагара и пыли, проникающей в картер. Эти механические примеси, попадая вместе с маслом к трущимся деталям, увеличивают их износ и поэтому должны быть удалены из масла.
Примечание
Масляные фильтры служат для очистки масла от механических примесей, в результате чего увеличивается продолжительность его работы.
Рисунок 4.40 Масляный фильтр.
Зачастую в двигателе имеются два масляных фильтра: один – сетчатый – устанавливается на маслоприемнике (который показан на рисунке 4.38), а второй — в собственном корпусе в наиболее доступном месте на блоке цилиндров двигателя.
Состоит такой фильтр из корпуса и фильтрующего элемента вставленного в корпус.
Масляный радиатор
Узнав о том, что в процессе работы все детали двигателя очень сильно нагреваются, вы могли предположить, что и масло, смазывающее эти самые детали, также нагревается, достигая приличных температур. А при сильном перегреве моторное масло начинает очень стремительно терять свои свойства — все это может вылиться в довольно плачевные последствия для двигателя.
Примечание
При работе двигателя температура моторного масла не должна сильно повышаться во избежание падения его вязкости.
Чтобы поддерживать температуру моторного масла в наиболее эффективном диапазоне, устанавливают масляный радиатор, который иногда схож с радиатором системы охлаждения (см.
рисунок 4.33). При воздушном охлаждении масляный радиатор трубчатого типа, включенный в масляную магистраль, ставят перед радиатором водяной системы охлаждения двигателя.
Примечание
Если конструкция предполагает жидкостное охлаждение масла, то она называется охладителем, а не радиатором (схематически такой охладитель можно увидеть на рисунке 4.32).
Примечание
Радиатор с водяным охлаждением обеспечивает не только охлаждение масла при работе в тяжелых условиях, но и быстрый прогрев масла при пуске двигателя.
Масляный поддон, картер
Масляный поддон — чаще всего штампованная деталь, имеющая вид чаши или кухонного противня. Это емкость, в которой находится моторное масло, оттуда оно через маслоприемник (рисунок 4.38) подается ко всем трущимся деталям и туда же стекает после смазки данных деталей. В главе «Техническое обслуживание» описан щуп, с помощью которого измеряется уровень моторного масла. Так вот, данный щуп, а точнее его тонкая пластина с нанесенными метками, вставляется именно в поддон.
Внимание
Масло необходимо наливать в поддон до определенного уровня, который должен поддерживаться в процессе работы двигателя. При переполнении картера масло чрезмерно разбрызгивается на стенки цилиндров и может попасть в камеры сгорания, при этом нагарообразование в камерах сгорания усилится. Также возможно вспенивание масла, что приводит к значительному падению давления в системе и, если вовремя не остановиться, — к выходу двигателя из строя.
Также очевидно, что недостаток масла в системе может привести к так называемому масляному голоданию, из-за чего нередки случаи проворачивания вкладышей в коренных опорах коленчатого вала.
Картер – это самая большая корпусная деталь двигателя. Может быть отлита вместе с блоком цилиндров, а может быть отдельной деталью, крепящейся к блоку цилиндров болтами.
Вентиляция картера
В большинстве современных автомобилей установлены системы принудительной вентиляции картерных газов. В такую систему входят обычно клапаны и патрубки, соединяющие полость картера двигателя со впускным коллектором.
Сама вентиляция картера крайне важна для нормальной работы двигателя. Дело в том что, так или иначе отработавшие газы через зазоры поршневой группы попадают в картер двигателя. Так же газы образуются при контакте моторного масла с раскаленным деталями двигателя. Прорвавшиеся отработанные газы воздействуя на моторное масло, разжижают его, что приводит к уменьшению срока службы и потере эффективности. Также, в зависимости от режима работы двигателя, попавшие в картер газы могут резко повысить избыточное давление, что приведет к выдавливанию уплотнительных манжет (сальников) и прокладок. Именно для этого устанавливают клапаны, контролируемые электроникой, которые отвечают за вентиляцию картера.
Применяемые для смазки масла
Для смазки двигателей применяют масла минерального (сейчас редко), полусинтетического и синтетического происхождения.
Для повышения качества масла к нему добавляют специальные присадки (специальные химические соединения), которые повышают смазывающую способность масла, делают более стабильной его вязкость, понижают температуру застывания, уменьшают окисляющее действие масла.
Присадки в масле также способствуют вымыванию смолистых отложений из зазоров трущихся деталей и т. д.
В зависимости от времени года и климатических условий для смазки двигателя следует применять масла различной вязкости. Зимой вязкость масла должна быть меньше, так как масло с большой вязкостью при низкой температуре загустеет и будет в холодном двигателе плохо проникать в зазоры трущихся деталей, а также будут затруднены заливка масла и пуск холодного двигателя.
Летом вязкость масла должна быть большей, так как масло с малой вязкостью при повышенной температуре становится еще более жидким и не обеспечивает нормальной смазки двигателя. Однако, на данный момент распространены всесезонные моторные масла.
Ниже рассмотрим обозначение вязкости масел по классификации SAE (Society of Automotive Engineers – Сообщество автомобильных инженеров).
В данном обозначении имеется две цифры, разделенные буквой W – это говорит о том, что масло всесезонное. При этом первая цифра говорит о минимальной отрицательной температуре, при которой коленвал двигателя можно будет провернуть.
Так, масло 0W40 должно прокачиваться от -35°С, 15W40 – от -20°С. Вторая цифра определяет вязкость масла при температуре 100°С, а если точнее, то не саму вязкость, а допустимый диапазон ее изменения. Так, для «30» вязкость при 100°С может меняться в диапазоне от 9.3 до 12.5 сСт (сантистоксов – единиц измерения вязкости), для «40» – от 12.5 до 16.5 сСт, а для «50» – от 16.3 до 21.9 сСт. То есть кинематическая вязкость в пределах допустимого диапазона может меняться на 10…15%.
Параллельно с классификацией по SAE, характеризующей вязкость моторного масла, существует классификация по API (American Petroleum Institute – Американский институт топлива), которая определяет его применимость к конкретному мотору.
В марку масла входит индекс, состоящий из двух букв, первая из которых определяет тип двигателя: S (Service Station) – бензиновые двигатели и C (Commercial) – дизельные двигатели; вторая (A, B, C, D, E, F, G, H, J, L, M) определяет уровень эксплуатационных свойств. Марка масла может быть дробной, тогда масло с точки зрения применения универсально – для бензиновых и дизельных двигателей.
Подраздел 4.8 Система охлаждения двигателя | Система внешнего освещения Система зажигания | Подраздел 4.10 Система впуска и выпуска |
Please enable JavaScript to view the comments powered by Disqus. comments powered by Disqus
Как работает система смазки двигателя? Узнайте здесь
Когда две металлические поверхности при прямом контакте движутся друг над другом, они создают трение, которое выделяет тепло. Это вызывает чрезмерный износ движущихся частей. Однако, когда пленка смазочного вещества отделяет их друг от друга, они не вступают в физический контакт друг с другом. Таким образом, смазка — это процесс, который разъединяет движущиеся части за счет подачи между ними потока смазочного вещества. Смазка может быть жидкой, газообразной или твердой. Однако в системе смазки двигателя в основном используются жидкие смазочные материалы.
Система смазки двигателя:
- Минимизирует потери мощности за счет уменьшения трения между движущимися частями.
- Снижает износ движущихся частей.
- Обеспечивает охлаждение горячих частей двигателя.
- Обеспечивает амортизирующий эффект при вибрациях, вызванных двигателем.
- Осуществляет внутреннюю очистку двигателя.
- Помогает герметизировать поршневые кольца от газов под высоким давлением в цилиндре.
Система смазки двигателя подает моторное масло к следующим деталям:
- Коренные подшипники коленчатого вала
- Шатунные подшипники
- Поршневые пальцы и малые концевые втулки
- Стенки цилиндра
- Поршневые кольца
- Зубчатые передачи
- Распределительный вал и подшипники
- Клапаны
- Толкатели и толкатели
- Детали масляного насоса
- Подшипники водяного насоса
- Подшипники рядного топливного насоса высокого давления
- Подшипники турбокомпрессора (если установлены)
- Подшипники вакуумного насоса (если установлены)
- Поршень и подшипники воздушного компрессора (в грузовых автомобилях для пневматических тормозов)
Типы системы смазки двигателя:
В основном в автомобильных двигателях используются четыре типа систем смазки:
- Бензиновая система
- Система брызг
- Система давления
- Система с сухим картером
Компоненты системы смазки двигателя:
- Масляный картер
- Масляный фильтр двигателя
- Форсунки охлаждения поршней
- Масляный насос
- Нефтяные галереи
- Масляный радиатор
- Индикатор/лампа давления масла
Масляный поддон/отстойник:
Масляный поддон/отстойник — это просто резервуар в форме чаши.
Он хранит моторное масло, а затем циркулирует в двигателе. Масляный поддон находится под картером и хранит моторное масло, когда двигатель не работает. Он расположен в нижней части двигателя для сбора и хранения моторного масла. Масло возвращается в поддон под давлением/самотеком, когда двигатель не используется.
Плохие дорожные условия могут привести к повреждению масляного поддона/отстойника. Таким образом, производители предусматривают защиту от камней / защиту отстойника под отстойником. Защита картера поглощает удары от неровностей дороги и защищает картер от любых повреждений.
Масляный насос:
Масляный насос — это устройство, которое помогает циркулировать смазочному маслу ко всем движущимся частям внутри двигателя. К таким деталям относятся подшипники коленчатого и распределительного валов, а также толкатели клапанов. Обычно он расположен в нижней части картера, рядом с масляным картером. Масляный насос подает масло к масляному фильтру, который фильтрует и направляет его дальше.
Затем масло достигает различных движущихся частей двигателя через масляные каналы.
Даже мелкие частицы могут засорить масляный насос и галереи. Если масляный насос заблокируется, это может привести к серьезному повреждению двигателя или даже полному заклиниванию двигателя. Чтобы этого избежать, масляный насос состоит из сетчатого фильтра и перепускного клапана. Следовательно, необходимо регулярно менять моторное масло и фильтр в соответствии с рекомендациями производителей.
Масляные галереи:
Для повышения производительности и увеличения срока службы двигателя необходимо, чтобы моторное масло быстро достигало движущихся частей двигателя. Для этого производители предусматривают масляные галереи внутри двигателя. Масляные каналы представляют собой не что иное, как серию взаимосвязанных каналов, по которым масло поступает в самые отдаленные части двигателя.
Система смазки двигателя: масляные каналы Масляные каналы состоят из больших и малых каналов, просверленных внутри блока цилиндров.
Большие каналы соединяются с меньшими каналами и подают моторное масло к головке блока цилиндров и верхним распределительным валам. Масляные каналы также подают масло к коленчатому валу, подшипникам коленчатого вала и подшипникам распределительного вала через просверленные в них отверстия, а также к толкателям/толкателям клапанов.
Масляный радиатор:
Масляный радиатор — это устройство, которое работает как радиатор. Он охлаждает моторное масло, которое становится очень горячим. Масляный радиатор передает тепло от моторного масла к охлаждающей жидкости двигателя через свои ребра. Первоначально производители использовали масляный радиатор только в гоночных автомобилях. Однако сегодня большинство автомобилей используют систему масляного радиатора для повышения производительности двигателя.
Система смазки двигателя: Масляный радиатор Масляный радиатор, который помогает поддерживать температуру моторного масла, а также контролирует его вязкость. Кроме того, сохраняет качество смазки, предотвращает перегрев двигателя и тем самым спасает его от износа.
Для получения дополнительной информации нажмите здесь.
Посмотреть систему смазки двигателя в действии можно здесь:
Читать дальше: Как работает система охлаждения двигателя? >>
сообщите об этом объявлении
О команде CarBikeTech
CarBikeTech — это технический блог. Члены команды CarBikeTech имеют более чем 20-летний опыт работы в автомобильной сфере. Команда CarBikeTech регулярно публикует специальные технические статьи об автомобильных технологиях.
8 различных частей системы смазки с [схемами и PDF]
В этой статье вы узнаете , что такое система смазки и различные части системы смазки с изображениями и PDF.
Смазка необходима при обслуживании автомобиля. Подача смазочного масла между движущимися частями называется просто смазкой. смазка всех движущихся частей (кроме нейлоновых, резиновых втулок или предварительно смазанных компонентов) необходима для уменьшения трения, износа и предотвращения заклинивания.
Подробнее о системе смазки:
Детали системы смазки
Ниже приведены 8 различных частей системы смазки :
- Масляный поддон
- Масляный насос
- Gear Pump
- Ротор насос
- Plunger Pump
- Vane Pump
- Масляный фильтр
- Sy-Pass System
- Система полного потока
- Стойкий масляный деформатор
- .
- Указатель уровня масла
- Манометр давления масла
- Расширение давления
- Электрический тип Балансировочная катушка
- Биметаллический термостат
- Индикатор давления масла
См. также: Система смазки в автомобиле: метод, назначение и применение
Масляный картер
Масляный картер представляет собой самую нижнюю часть картера двигателя. Он обеспечивает покрытие коленчатого вала и содержит масло.
В системе смазки с мокрым картером масло выливается из картера и после смазки различных деталей капает в картер.
Масляный картер также известен как масляный поддон. Обычно изготавливается из стальных штамповок. Иногда изготавливается из алюминия или чугуна. В его нижней части имеется сливная пробка для слива масла. В некоторых случаях он содержит масляный фильтр, корпус для щупа и штуцер для маслопровода. В системе смазки с сухим картером масло находится в отдельном масляном баке.
Масляный насос
Масляный насос обычно размещается внутри картера ниже уровня масла. Масляный насос предназначен для подачи масла под давлением к различным смазываемым частям двигателя. Для смазки двигателя используются следующие типы масляных насосов:
- Шестеренчатый насос
- Роторный насос
- Плунжерный насос
- Пластинчатый насос
1. Шестеренчатый насос
жилье. Зазор между зубьями и корпусом шестерни очень мал.
Шестерня прикреплена к валу, который приводится в движение от распределительного или коленчатого вала двигателя через соответствующую шестерню.
Другая шестерня свободно вращается на собственном подшипнике. Когда насос работает, масло поступает между зубьями шестерни со стороны всасывания. Переносится между шестернями и корпусом насоса и выдавливается со стороны нагнетания. Давление и объем масла, подаваемого насосом, зависят от частоты вращения шестерни.
Этот тип шестеренчатого насоса почти повсеместно используется в автомобильных двигателях из-за его простоты конструкции. Он может перекачивать масло под давлением около 2-4 кг/см. Во многих масляных насосах также предусмотрен предохранительный клапан для сброса избыточного давления из-за высоких оборотов двигателя или засорения маслопроводов.
2. Роторный насос
Он состоит из внутреннего и внешнего ротора внутри корпуса насоса вместо шестерен, т.е. две шестерни находятся в зацеплении внутри. Внешняя шестерня имеет число зубьев на один больше, чем внутренняя шестерня.
Масло вытесняется со стороны входа на сторону выхода, как и в шестеренчатом насосе.
3. Плунжерный насос
Состоит из плунжера, который совершает возвратно-поступательное движение в корпусе насоса при движении вверх, плунжер всасывает масло из впускного отверстия, а при движении вниз вытесняет масло из выпускного отверстия. Этот тип маслосборника используется для подачи масла под низким давлением в желоба систем разбрызгивания.
См. также: Перечень деталей двигателя автомобиля. Назначение с (изображениями)
4. Насос лопастной
Содержит цилиндрический корпус с выходом и входом и барабан. Барабан установлен эксцентрично в корпусе и содержит две лопасти с пружиной. При вращении барабана лопасти протирают масло от входа к выходу.
Поскольку барабан установлен эксцентрично, объем между барабаном и корпусом постоянно уменьшается, а давление масла на выходе увеличивается.
Масляный фильтр
Масляный фильтр используется в системе смазки двигателя большинства автомобилей для фильтрации грязи или частиц песка из масла.
Системы масляных фильтров бывают двух Типы:
- Байпасная система
- Полнопоточная система
1. Байпасная система
В байпасной системе через фильтр одновременно проходит не все масло, а часть часть масла без фильтрации поступает в подшипники. Оставшееся масло проходит через фильтр и далее в подшипник. Когда двигатель работает непрерывно в течение длительного периода времени, все масло отфильтровывается.
2. Полнопоточная система
В полнопоточной системе все сначала проходит через фильтр, а затем попадает в подшипник. Если фильтр по какой-то причине остановится, система полностью выйдет из строя и подшипники будут голодать.
Различные типы масляных фильтров, используемых в автомобильных двигателях. К ним относятся:
- Картриджный
- Краевой
- Центробежный
1. Картриджный масляный фильтр
Содержит фильтрующий элемент, помещенный в металлический корпус. Корпус имеет входной и выходной масляный насос, поступающий в корпус через фильтрующий элемент, который задерживает все загрязнения.
Отфильтрованное масло выходит из корпуса и направляется в масляную галерею. Фильтрующий элемент можно очищать при засорении. Если он не в состоянии быть очищенным должным образом, он должен быть заменен.
Читайте также:Каковы 18 различных свойств смазочных материалов [смазочное масло]
2. Масляный фильтр краевого типа
Он содержит номер диска в корпусе, через который проходит масло. Альтернативный диск установлен на центральном шпинделе, а диск между ними закреплен на отдельном прямоугольном стержне. Зазор между двумя дисками составляет всего несколько тысяч сантиметров.
Когда масло проходит через этот небольшой зазор, оно оставляет загрязнения на периферии диска. При периодическом включении центрального шпинделя загрязнения, скопившиеся на дисках, удаляются.
3. Масляный фильтр центробежного типа
На рис. показан масляный фильтр центробежного типа. Он содержит стационарный корпус, корпус ротора, центральный шпиндель и трубы с форсунками.
Неочищенное масло поступает в полый центральный шпиндель и через всю его периферию попадает в корпус ротора.
От ротора вызывающее масло уходит по трубкам, на концах которых закреплены форсунки. Масло проходит через эти форсунки под давлением, реакция которого обеспечивает движение корпуса ротора, так что он начинает вращаться.
Масло из форсунок ударяется о стенки стационарного корпуса под большим давлением, где задерживаются примеси, а чистое масло опускается ниже, которое и принимается в работу. Стенки фильтра периодически очищают.
Читайте также: Четыре различных типа коробок передач, которые используются в современных автомобилях
Масляный фильтр
Масляный фильтр — это просто сетка из проволочной сетки. Он прикреплен к входу масляного насоса, чтобы масло, поступающее в масляный насос, не содержало примесей. Сетчатый фильтр задерживает грязь или песок масла. Обычно устанавливается плавающий сетчатый фильтр, который шарнирно закреплен на входе масляного насоса.
Устроен так, что плавает на поверхности масла, а загрязнения остаются на дне картера. Таким образом, только небольшое количество примесей попадает на сетчатый фильтр, и, следовательно, вероятность его засорения меньше. В сетчатом фильтре также имеется перепускной канал, позволяющий маслу проходить, когда сетчатый фильтр полностью забит.
Масляный радиатор
Масляный радиатор предназначен для охлаждения смазочного масла в тяжелонагруженном двигателе, где температура масла становится достаточно высокой. Так как вязкость масла уменьшается с повышением температуры, а также масляная пленка может разрушиться при высоких температурах, масло в системе смазки должно оставаться холодным.
Масляный радиатор похож на простой теплообменник. Масло можно охлаждать холодной водой из радиатора или потоком воздуха. Масляные радиаторы водяного типа чаще используются в системе смазки, потому что они действуют как реверсивные охладители.
В момент пуска, когда вода горячее масла, масло нагревается для обеспечения полной циркуляции в системе.
При более высоких температурах, когда масло становится горячее воды, вода охлаждает масло.
Масляный радиатор водяного типа, как показано на рис., состоит просто из трубок, по которым циркулирует масло. Вода циркулирует вне трубок в корпусе охладителя. Тепло масла уносится циркулирующей водой.
Индикатор уровня масла
Уровень масла в картере проверяется щупом. Это длинная палка с ручкой на одном конце для удержания. Он градуирован с отметками полный, половинный и пустой. Для проверки уровня масла щуп опускают в картер и вынимают.
Масло налипает на щуп, показывающий уровень масла в картере. Масло должно упасть ниже критической отметки. Перед запуском автомобиля, особенно для дальней поездки. Уровень масла должен быть проверен.
Датчик давления масла
На приборной панели всех автомобилей, оборудованных системой смазки под давлением, установлен манометр, сообщающий водителю о давлении масла в двигателе. Манометры давления масла бывают следующих типов:
- Манометр расширения давления
- Электрический тип
- Тип балансировочной катушки
- Тип биметаллического термостата
1.
Манометр расширения давления показывает давление масла 90 Рис. датчик давления масла расширительного типа. Он содержит полую бурдонную (изогнутую) трубку, закрепленную на одном конце и свободную на другом.Давление масла подается на изогнутую трубку через маслопровод от двигателя, в результате чего трубка выпрямляется. Это движение передается на иглу с помощью рычажного механизма и шестерен с конца трубки. Стрелка перемещается по циферблату, показывая давление масла.
2. Балансировочный манометр с катушкой
Состоит из двух отдельных блоков/двигателя и индикаторного блока. Блок двигателя состоит из подвижного контакта, который перемещается по сопротивлению в соответствии с изменяющимся давлением масла на диафрагму.
По мере увеличения давления диафрагма перемещается внутрь, за счет чего контакт перемещается вдоль сопротивления, так что в цепи между двигателем и блоком индикации создается большее сопротивление. Это уменьшает количество тока, протекающего в цепи.
Блок индикации состоит из двух катушек, которые уравновешивают движение стрелки на шкале, аналогично указателю уровня топлива с электрическим приводом.
3. Датчик давления масла с биметаллическим термостатом
Индикатор давления масла с металлическим термостатом подобен манометру с биметаллическим термостатом. Он состоит из блока двигателя и приборной панели. Давление масла на диафрагму деформирует лезвие термостата двигателя, и это искажение приводит к аналогичному искажению лезвия термостата приборной панели, в результате чего давление масла отображается на циферблате.
Световой индикатор давления масла
Во многих автомобилях давление масла в двигателе отображается с помощью сигнального индикатора. Свет загорается при включении зажигания и низком давлении масла. В схеме используется четырехступенчатый мембранный переключатель, который включает сигнальную лампу в зависимости от давления масла, необходимого для различных режимов работы двигателя.
